Bảng thông số cầu trục dầm đơn 3 tấn Châu Âu
Đặc điểm của cầu trục dầm đơn Châu Âu 3 tấn
- khoảng không thấp
- Lái xe thông minh, hiệu quả cao hơn
- Xe đẩy điều khiển vô cấp
- Bánh răng cứng
- Cách điện IP55/H
- Động cơ hạng nặng, xếp hạng 60% ED
- Quá nhiệt, bảo vệ quá tải
- Phanh đĩa điện từ
- Bảo trì miễn phí

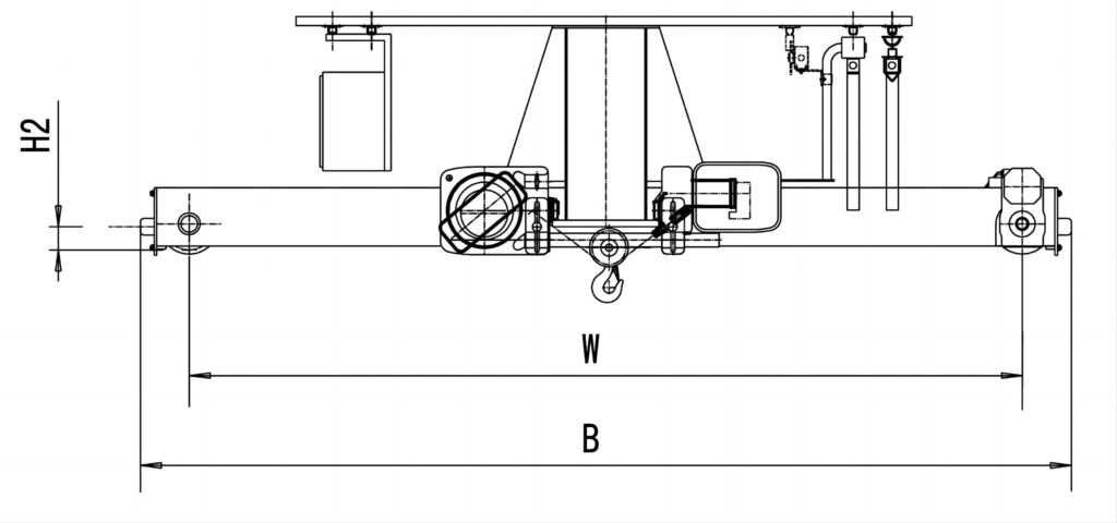
Structural diagram of a 3-ton European single beam crane


Thông số kỹ thuật của cầu trục dầm đơn 3 tấn Châu Âu
| Main performance and technical parameters of 3t European-style electric single-girder crane | ||||||||||||
| 跨度 | Span | m | 7.5 | 10.5 | 13.5 | 16.5 | 19.5 | 22.5 | 25.5 | 28.5 | ||
| 基本参数 Basic Data | 整机自重 | Crane Weight | t | 1.36 | 1.7 | 2.15 | 3.07 | 3.63 | 5.09 | 5.74 | 7.63 | |
| 小车自重 | Trolley Weight | 0.23 | 0.23 | 0.23 | 0.23 | 0.23 | 0.23 | 0.23 | 0.23 | |||
| 最大轮压 | Max.Wheel Load | kN | 19 | 20.6 | 22.1 | 24.4 | 25.9 | 29.5 | 31.2 | 35.9 | ||
| 最小轮压 | Min.Wheel Load | 3.8 | 4.1 | 4.9 | 7.1 | 8.3 | 11.8 | 13.3 | 17.8 | |||
| 大车车轮数 | Crane Wheel Q’ty | PCS | 4 | 4 | 4 | 4 | 4 | 4 | 4 | 4 | ||
| 推荐轨道 | Crane Rail | P22 | P22 | P22 | P22 | P22 | P22 | P22 | P22 | |||
| 速度Speed | 起升速度 | Lifting Speed | m/min | 5/0.83 | ||||||||
| 小车速度 | Trolley Speed | 0-20 | ||||||||||
| 大车速度 | Bridge Speed | 0-32 | ||||||||||
| 电机功率MotorPower | 起升电机 | Lifting Motor | kW | 3.6/0.5 | 3.6/0.5 | 3.6/0.5 | 3.6/0.5 | 3.6/0.5 | 3.6/0.5 | 3.6/0.5 | 3.6/0.5 | |
| 小车电机 | Trolley Motor | 0.3×1 | 0.3×1 | 0.3×1 | 0.3×1 | 0.3×1 | 0.3×1 | 0.3×1 | 0.3×1 | |||
| 大车电机 | Bridge Motor | 0.3×2 | 0.3×2 | 0.3×2 | 0.37×2 | 0.45×2 | 0.53×2 | 0.53×2 | 0.65×2 | |||
| 整机功率 | Crane Power | 4.5 | 4.5 | 4.5 | 4.64 | 4.8 | 4.96 | 4.96 | 5.2 | |||
| 主要尺寸MainDimension | 轨顶标高 | Top of Rail Height | b | mm | 9000(或根据用户制定or specified by clients) | |||||||
| 安全净空 | Top Clearance | h³ | ≥ 200(GB/T 14405-2011) | |||||||||
| 吊钩至起重机顶高度 | Hook to Crane Top | C’ | 852 | 852 | 932 | 1052 | 1184 | 1378 | 1378 | 1498 | ||
| 轨道至起重机顶高度 | Rail to Crane Top | a | 600 | 600 | 600 | 600 | 600 | 650 | 650 | 950 | ||
| 起升高度 | Lifting Height | h | 8594 | 8594 | 8524 | 8426 | 8212 | 8222 | 8458 | 8398 | ||
| 屋顶最低点高度 | Ceiling to Floor Height | c | 9800 | 9800 | 9800 | 9800 | 9800 | 9850 | 9850 | 10150 | ||
| 梁底高度 | Girder Bottom Height | f | 8944 | 8944 | 8874 | 8776 | 8636 | 8646 | 8808 | 8822 | ||
| 吊钩左极限 | Hook Approach L. | hl | 440 | 450 | 530 | 540 | 680 | 680 | 680 | 710 | ||
| 吊钩右极限 | Hook Approach R. | h2 | 400 | 400 | 480 | 480 | 520 | 520 | 520 | 540 | ||
| 轨道中心至左侧墙 | Rail Center to LeftWall | dL | 206 | 206 | 206 | 206 | 208 | 210 | 210 | 246 | ||
| 轨道中心至 右侧墙 | Rail Center to RightWall | dR | 206 | 206 | 206 | 206 | 208 | 210 | 210 | 246 | ||
| 大车轮距 | Bridge Wheel Base | W | 1800 | 1800 | 1800 | 2200 | 2700 | 3100 | 3800 | 4500 | ||
| 小车基距 | Trolley Rail Guage | Lx | / | / | / | / | / | / | / | / | ||
| 缓冲器高度 | Buffer Height | H2 | 100 | 100 | 100 | 100 | 100 | 100 | 100 | 150 | ||
| 整机宽度 | Crane Width | B | 2096 | 2096 | 2096 | 2526 | 3056 | 3490 | 4190 | 5050 | ||
| 水平侧向力 | Guiding(contact)Force | S | kN | 6 | 6.5 | 7 | 9.8 | 12.6 | 15.4 | 18.2 | 21 | |
| 缓冲力 | Buffer Force | Bf | kN | 15 | 18 | 21 | 22 | 23 | 24 | 25 | 28 | |
